ПРАВОСЛАВНЫЕ МОЛОДЕЖНЫЕ ВСТРЕЧИ
(неофициальный сайт)

По воскресеньям, с 18:00 (кроме периода "летних каникул") приход в честь Успения Пресвятой Богородицы (Новосибирск, ул. Громова, 19) проводит молодежные встречи. Мы собираемся в трапезной "каменного" храма (храма в честь преподобного Амвросия Оптинского) в цокольном этаже, беседуем на заданные и свободные темы, смотрим фильмы, устраиваем чаепития, играем в настольный теннис (летом также в футбол), летом ходим на пикник, встречаемся с молодежью из других приходов Новосибирска... Встречи проходят под руководством священника о. Александра.

Если вы молоды и хотите общаться со сверстниками-единоверцами, либо у вас возникли какие-то вопросы о жизни и вере - приходите!


Объявления

17.11.2013 - едем в гости к недавно созданному молодежному клубу при приходе в честь преп. Серафима Саровского, к 18:00. Адрес: Пархоменко 1-й пер., д.3 (возле Монумента Славы)
01.09.2013 - после летних каникул молодежные встречи возобновились!
14.07.2013 - в 13:00 состоится молодежный крестный ход, посвященный свв. Петру и Февронии. Мы пройдем от часовни Николая Чудотворца до Вознесенского собора. Приглашаются все желающие!
07.07.2013 - выбирались на природу (в поля Затулинки :-)) на пикник
12.05.2013 - тема молодежной встречи - Антипасха
05.05.2013 - Христос воскрес! Отмечали Пасху поездкой на экскурсионном трамвае по городу, поздравляя людей на остановках с Праздником. См. фото 1, фото 2, фото 3.
14.04.2013 - сегодня будет викторина, посвященная преп. Иоанну Лествичнику!
31.03.2013 - основная тема встречи - святитель Григорий Палама
24.03.2013 - сегодня к нам приезжал протоиерей Павел Патрин
17.03.2013 - тема встречи - святитель Игнатий Брянчанинов
10.03.2013 - встреча
03.03.2013 - встречи не было

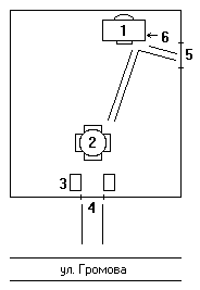
Как нас найти
1 - каменный храм во имя преп. Амвросия Оптинского
2 - деревянный храм в честь Успения Пресвятой Богородицы
3 - одноэтажные кирпичные постройки
4 - главные ворота
5 - боковые ворота
6 - служебный вход в каменный храм
Если служебный вход (металлическая дверь) закрыт - постучите, скажите сторожу, что пришли на молодежную встречу, либо попробуйте зайти через главный вход храма. Наши встречи проводятся практически каждую неделю, но иногда время и место встреч меняется (например, когда мы ездим в гости к другому православному молодежному клубу)...
Как с нами связаться?

Тел.: 8 - 9 2 3 - 1 4 7 - 6 9 8 5 (Игорь)

Мы "Вконтакте": http://vk.com/club24338280

Официальный сайт: http://uspenie-nsk.cerkov.ru/molodyozhnyj-otdel
 

На фото показан храм во имя Успения Пресвятой Богородицы со стороны главного входа. На заднем плане справа виден храм во имя преп. Амвросия Оптинского.